(原标题:瑞丰达资产跑路?上级公司回应:已经在处理这个问题)
5月9日下午,一则20亿—50亿规模私募“瑞丰达资产跑路”的传闻在资管圈流传。
据证券时报e公司消息,浙江瑞丰达资产管理有限公司(以下简称“瑞丰达”)旗下的产品已确认无法赎回,另有知情人士表示,“该私募手法十分恶劣,而且投资人以机构居多,包括一些券商资管、自营等等。”
南财快讯记者根据企查查披露的联系方式致电瑞丰达,结果却显示致电日赢控股,相关人士表示,“瑞丰达是日赢下面的公司,早上接到通知他们有人在处理这个问题,具体什么事我们不清楚”。
中基协显示,瑞丰达成立时间为2016年10月20日,登记时间为2017年5月31日,实控人为邱文龙,注册地在浙江省湖州市,办公地址在上海市浦东新区,注册资本为3000万元人民币,实缴资本为750万元人民币,共有68只产品在运作,托管人包括招商证券,中信证券、华泰证券、广发证券、中国银河证券等券商。
图片来源:中基协截图
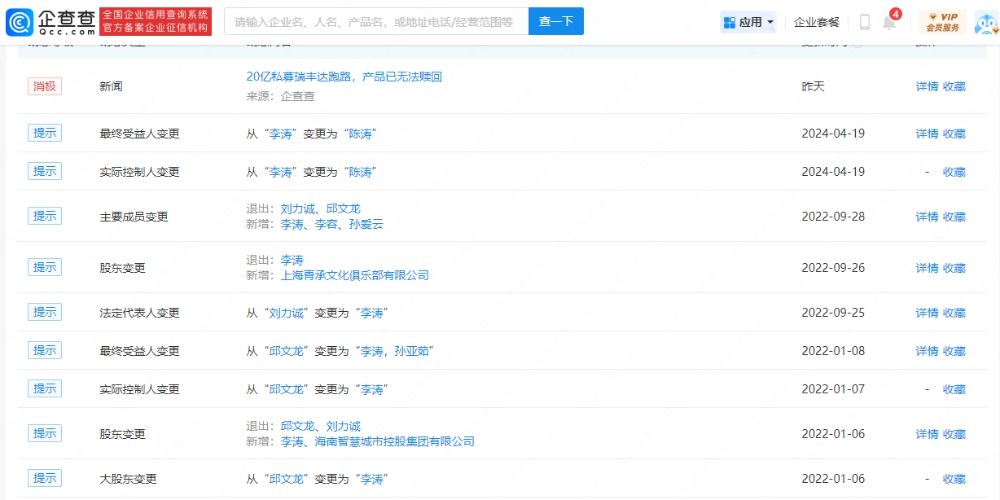
企查查显示,瑞丰达股权出现过多次变更,在最早的出资人认缴比例中,邱文龙占80%,刘力诚占比20%。邱文龙、刘力诚在2022年退出,李涛、李容、孙爱云接手。值得注意的是,2024年4月19日,瑞丰达实际控制人由李涛变更为陈涛。
图片来源:企查查截图
私募排排网显示,瑞丰达管理规模在20亿元—50亿元,核心人物包括张日阳、 李泽文、 黄建军、 刘力诚等人,瑞丰达还曾获得私募排排网2024年1月股票策略收益榜冠军。
图片来源:私募排排网截图
记者注意到,2023年11月百亿FOF私募华软新动力就因私募跑路踩雷。据传闻,华软新动力投资了汇盛投资,汇盛投资下投至瑜瑶投资,瑜瑶投资又下投到其他私募产品,产品的底层资产是一个没有托管的产品,资金账户是管理人的公司账户,而最底层管理人已经将资产全部转移,导致产品无法兑付。
对此,华软新动力公告解释称:“公司旗下FOF产品下投了汇盛投资,汇盛投资先前声称自己做量化对冲策略,后来经华软新动力调查发现,汇盛投资只是将资金下投了瑜瑶投资的产品,华软新动力迅速采取行动,报案申请对涉嫌产品造假的私募管理人汇盛投资采取措施。华软新动力则对下投方面的失误以及由此引发的一些不实市场传闻给投资者带来的困扰深表歉意。”
本文部分来源21世纪经济报道(记者:庞华玮)
